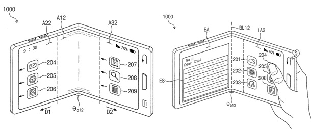
Компания Samsung запатентовала гибкий прозрачный смартфон. В Интернете были опубликованы иллюстрации из патента, в которых показано, что устройство будет складываться горизонтально. Об этом пишет SlashGear.
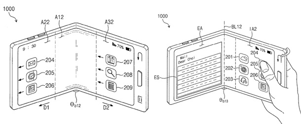
Также производитель запатентовал смартфон, который будет складываться в двух разных местах.
На иллюстрациях показаны обе версии смартфона — как с одинарным, так и с тройным складыванием.
Что касается технологии с прозрачным дисплеем, то ранее компания уже использовала ее в фирменном телевизоре 2015 года.



